法盛金融投资
致力于分享金融与不良资产、投融资并购、房地产与城市更新、基金资管、资本市场、公司纠纷、税务筹划及疑难案例等干货。
来源:陇上税语、税乎网、合肥市税务局网站
本文案例中的合伙企业持有上市公司股票,减持时原来应该是按20%税率申报缴纳个税,税局稽查后,按照经营所得的累进税率(最高35%)予以补缴个税及滞纳金。
按照相关规定,合伙企业出售、转让股权所得,属于经营所得范围,应按照经营所得项目,计算缴纳自然人合伙人的个人所得税。出售、转让股权所得,适用5%~35%的五级超额累进税率。根据《财政部 国家税务总局关于印发〈关于个人独资企业和合伙企业投资者征收个人所得税的规定〉的通知》(财税〔2000〕91号)附件1《关于个人独资企业和合伙企业投资者征收个人所得税的规定》第四条规定,个人独资企业和合伙企业每一纳税年度的收入总额减除成本、费用以及损失后的余额,作为投资者个人的生产经营所得,比照个人所得税法的“个体工商户的生产经营所得”应税项目,适用5%~35%的五级超额累进税率,计算征收个人所得税。
我们一起来看看案例详情吧~
01

税务处罚决定书原文:
安徽欧擎海泰投资合伙企业(有限合伙):(纳税人识别号:913401005888567069)
我局对你单位(地址:安徽省庐阳区亳州路32号504室)2014年1月1日至2017年12月31日涉税情况进行了检查,违法事实及处理决定如下:
一、违法事实
(一)增值税问题
2012年12月,你单位对外投资人民币90000000.00元,全额投向合肥国轩高科动力能源有限公司,其中增资投资金额85300000.00元,对赌投资金额4700000.00元。2015年4月,深交所上市公司江苏东源电器集团股份有限公司(股票代码002074)实施发行股份购买国轩高科股份的资产交易,国轩高科通过此次重大资产重组实现上市,你单位前期投资于国轩高科的股份被东源电器一并购买,你单位通过此次交易取得国轩高科股份有限公司限售股股份24335383股,该限售股于2016年5月16日解禁, 2016年6月13日,你单位通过大宗交易将上述限售股全部卖出,获得交易收入810716384.61元,同时累计产生交易费用1616542.53元。
据江苏东源电器集团股份有限公司董事会2014-002号《江苏东源电器集团股份有限公司关于筹划重大事项停牌公告》(证券代码002074),该股票于2014年4月1日开市起停牌。经查询深交所交易信息,该股票2014年3月31日收盘价为7.30元/股。
你单位2016年6月转让其持有的合肥国轩高科动力能源有限公司限售股24335383股,获得股权交易收入810716384.61元,发生交易费用1616542.53元。上述行为属金融商品转让,未申报缴纳2016第二季度增值税 18485960.13元。
计算方式:
(810716384.61+1616542.53-7.3×24335383)/1.03×3%)
(二)附加税费问题
你单位2016第二季度少缴增值税18485960.13元,相应少缴城市维护建设税1294017.21元、教育费附加554578.80元、地方教育附加369719.20元。
(三)个人所得税问题
你单位2016年会计利润总额721171401.29元,扣除当年查补上述税费20704275.34元,弥补以前年度亏损4822891.81元后,你单位投资总收益695644234.14元。扣除资产管理人20%的提成后,18名合伙人(含资产管理人兼法人合伙人1名)可分配利润共计556515387.31元,其中李宜杰等17人应纳税所得额555221683.74元,应纳个人所得税194076839.31元,已代扣代缴个人所得税114190918.17元,应补个人所得税79885921.14元。其中各合伙人补税明细如下表:

二、处理决定及依据
(一)根据《财政部、国家税务总局关于全面推开营业税改征增值税试点的通知》(财税〔2016〕36号)附件1.《营业税改征增值税试点实施办法》第一条第一款“在中华人民共和国境内(以下称境内)销售服务、无形资产或者不动产(以下称应税行为)的单位和个人,为增值税纳税人,应当按照本办法缴纳增值税,不缴纳营业税”、第十六条“增值税征收率为3%,财政部和国家税务总局另有规定的除外”、第十九条 “小规模纳税人发生应税行为适用简易计税方法计税”、第三十四条“简易计税方法的应纳税额,是指按照销售额和增值税征收率计算的增值税额,不得抵扣进项税额。应纳税额计算公式:应纳税额=销售额×征收率”、第三十五条“简易计税方法的销售额不包括其应纳税额,纳税人采用销售额和应纳税额合并定价方法的,按照下列公式计算销售额:销售额=含税销售额÷(1+征收率)”、附《销售服务、无形资产、不动产注释》第一条第(五)项第4目“金融商品转让,是指转让外汇、有价证券、非货物期货和其他金融商品所有权的业务活动。其他金融商品转让包括基金、信托、理财产品等各类资产管理产品和各种金融衍生品的转让”、《关于营改增试点若干征管问题的公告》(国家税务总局公告2016年第53号)第五条第(三)项之规定:“单位将其持有的限售股在解禁流通后对外转让的,按照以下规定确定买入价:因上市公司实施重大资产重组形成的限售股,以及股票复牌首日至解禁日期间由上述股份孳生的送、转股,以该上市公司因重大资产重组股票停牌前一交易日的收盘价为买入价”之规定,追缴你单位2016年第二季度增值税18485960.13元。
(二)根据《中华人民共和国城市维护建设税暂行条例》第二条“凡缴纳消费税、增值税、营业税的单位和个人,都是城市维护建设税的纳税义务人,都应当依照本条例的规定缴纳城市维护建设税”、第三条“城市维护建设税,以纳税人实际缴纳的消费税、增值税、营业税税额为计税依据,分别与消费税、增值税、营业税同时缴纳”、第四条“城市维护建设税税率如下:纳税人所在地在市区的,税率为7%;纳税人所在地在县城、镇的,税率为5%;纳税人所在地不在市区、县城或镇的,税率为1%”等规定,追缴你单位2016年第二季度城市维护建设税1294017.21元。
根据《征收教育费附加的暂行规定》第二条“凡缴纳消费税、增值税、营业税的单位和个人,除按照《国务院关于筹措农村学校办学经费的通知》(国发〔1984〕174号文)的规定,缴纳农村教育事业费附加的单位外,都应当依照本规定缴纳教育费附加”、第三条第一款“教育费附加,以各单位和个人实际缴纳的增值税、营业税、消费税的税额为计征依据,教育费附加率为3%,分别与增值税、营业税、消费税同时缴纳”等规定,追缴你单位2016年第二季度教育费附加554578.80元。根据《安徽省地方教育附加征收和使用管理暂行办法》(财综〔2011〕349号) 第二条“凡我省行政区域内缴纳增值税、营业税、消费税的单位和个人,应当依照本办法规定缴纳地方教育附加”、第三条“地方教育附加以单位和个人实际缴纳的增值税、营业税、消费税税额为计征依据,计征比率为2%”等规定,追缴你单位2016年第二季度地方教育附加369719.20元。
(三)根据《中华人民共和国个人所得税法》(2011年修正)第一条第一款“在中国境内有住所,或者无住所而在境内居住满一年的个人,从中国境内和境外取得的所得,依照本法规定缴纳个人所得税”、第二条第二项“个体工商户的生产、经营所得,应纳个人所得税”、《关于个人独资企业和合伙企业投资者征收个人所得税的规定》(财税〔2000〕91号)第三条“个人独资企业以投资者为纳税义务人,合伙企业以每一个合伙人为纳税义务人(以下简称投资者)”、第四条“个人独资企业和合伙企业(以下简称企业)每一纳税年度的收入总额减除成本、费用以及损失后的余额,作为投资者个人的生产经营所得,比照个人所得税法的“个体工商户的生产经营所得”应税项目,适用5%~35%的五级超额累进税率,计算征收个人所得税”、第二十二条“投资者应向企业实际经营管理所在地主管税务机关申报缴纳个人所得税。投资者从合伙企业取得的生产经营所得,由合伙企业向企业实际经营管理所在地主管税务机关申报缴纳投资者应纳的个人所得税,并将个人所得税申报表抄送投资者”之规定,追缴你单位2016年个人所得税79885921.14元。
(四)根据《中华人民共和国税收征收管理法》第三十二条“纳税人未按照规定期限缴纳税款的,扣缴义务人未按照规定期限解缴税款的,税务机关除责令限期缴纳外,从滞纳税款之日起,按日加收滞纳税款万分之五的滞纳金”规定,对你单位少缴纳的增值税、城市维护建设税、个人所得税,自滞纳税款之日起,按日加收万分之五的滞纳金。
经计算,你单位2016年第二季度增值税、城市维护建设税滞纳天数为651天(2016年7月16日至2018年4月27日),应分别加收滞纳金(增值税)6017180.02元、滞纳金(城市维护建设税)421202.60元;2016年度个人所得税滞纳天数为392天(2017年4月1日至2018年4月27日),应加收滞纳金(个人所得税)15657640.54元。
限你单位自收到本决定书之日起15日内到国家税务总局合肥市庐阳区税务局将上述税款及滞纳金缴纳入库,并按照规定进行相关账务调整。逾期未缴清的,将依照《中华人民共和国税收征收管理法》第四十条规定强制执行。
你单位若同我局在纳税上有争议,必须先依照本决定的期限缴纳税款及滞纳金或者提供相应的担保,然后可自上述款项缴清或者提供相应担保被税务机关确认之日起六十日内依法向国家税务总局合肥市税务局申请行政复议。
国家税务总局合肥市税务局稽查局
二O二一年十二月十日
02
1.本案是合伙企业将其持有的标的公司4.95%股权作价1.66亿元转让给上市公司,换得上市公司定向增发的股票,待股票解禁后出售,取得收入8.11亿元。稽查局认为,在合伙企业出售股票环节,合伙企业应交未交增值税,自然人合伙人少交个人所得税。
其实,在合伙企业参与上市公司定向增发收购资产时,合伙企业就应计算经营所得,自然人合伙人的纳税义务就产生了,此时按1.66亿元计算合伙企业的所得,当然这个时候缺乏纳税必要资金,而现行政策对合伙企业也没有可以递延纳税的规定,即使本次上市公司定向增发收购资产交易适用了特殊性税务处理,对合伙企业也不能适用。以后合伙企业出售股票,也就是对8.11与1.66亿元之间的增值部分也没有免税的规定。稽查局在计算个税时,是按8.11亿元为基础计算的,等于将合伙企业转让股权与转让股票两个环节合在一起计算个税了。但假如有股价大跌等极端的情况,合伙企业股票出售低于1.66亿元时,该如何处理?
这里有些费解,如果换做个人,就很好理解了。假如老姜把自己持有的股权作价1.66亿元卖给上市公司,换得上市公司定向增发的股票,待股票解禁后出售,取得收入8.11亿元。在转让股权环节,老姜的纳税义务就产生了,按1.66亿元计算所得,只不过可以分期缴纳。将来出售股票时免税,也就是对8.11与1.66亿元之间的增值部分是可以免个税的。即使股票出售所得低于1.66亿元,也不影响前次交易税款的计算。
2、本案中,合伙企业出售股票发生在2016年。推测合伙企业在出售股票后应该是按照20%的税率代扣代缴了自然人合伙人的个人所得税,但稽查局根据财税〔2000〕91号,按照35%的税率,向合伙企业追交自然人合伙人少缴的个人所得税,并对合伙企业加收滞纳金。
3、在计算增值税时,很多容易出现的错误是将手续费等从卖出价中做了扣除。本案中,稽查局将手续费加回去后再计算增值税。
4、为什么销售额都上亿元了,还适用小规模纳税人3%的征收率?
因为之前该合伙企业是小规模纳税人,尽管本次发生金融商品转让销售额上亿元了,但也只能是发生该笔销售之后,才能达到一般纳税人的标准,才能认定为一般纳税人。
由于该合伙企业是小规模纳税人,虽然本次股票减持金额达数亿元,但仍按3%的税率计算应补缴的增值税。如果是今年,还可以免税(政策的合理性我们不讨论)。但如果分次减持,第一次减持后,就可能被税务局通知转一般纳税人了
5、案例中滞纳金计算已经截至了,是因为税款已经缴纳了吗?
该决定书没有提到,但并不难推测:在检查期间发现问题,计算出应补缴的税款后,该公司就马上预缴了查补的税款,及时停止了滞纳金的计算。这是一个很明智的做法,不要等到税务处理决定书下达。所有接受稽查的企业都应该借鉴该做法,避免不必要的经济损失。
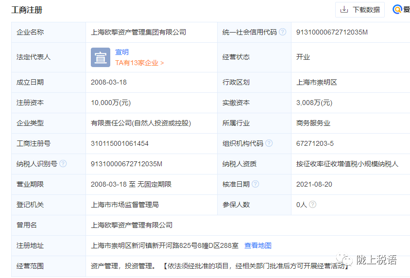
6、上海欧擎资产管理集团有限公司是管理人,稽查局在计算个税时,扣除了对资产管理人20%的提成。

免责声明:本公众号发布的信息,除署名外,均来源于互联网等公开渠道,版权归原著作权人或机构所有。我们尊重版权保护,如有问题请联系我们,谢谢!
